Some information technology companies dubious about strong patents that can be used to restrict their activities or force them to pay licensing fees, appear to have benefitted from securing patents early in their life-cycle.
It’s doubtful whether their early patent success can be similarly reproduced today.
According to a post on the IPfolio blog, a diverse group of IT companies that drew early on patents includes Dropbox, FireEye, Zynga, Square, Facebook, Theranos, SolarCity, GoPro and Apple.
“[Some] startups remain true to the original vision of the founders,” writes IPfolio. “By analyzing their first patent filings, it’s easy to see which ones have remained committed to plans likely first sketched on a whiteboard in a spare bedroom. In many cases, these ‘seminal patents’ closely describe what the company stands for today.”
“Here are the first patents granted to ten of Silicon Valley’s hottest companies. Fledgling startups when they first filed to protect their intellectual property, they’ve since created billion-dollar businesses around the seminal inventions.” For the full story, go here.
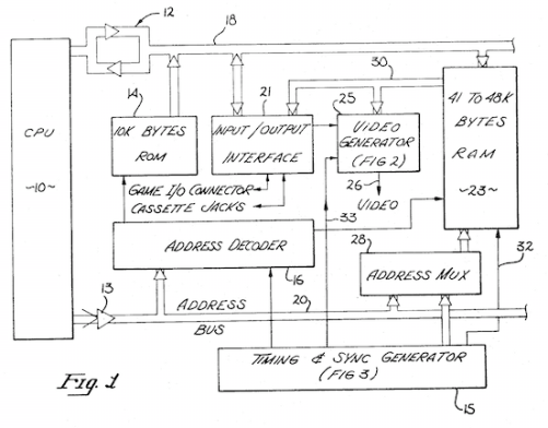
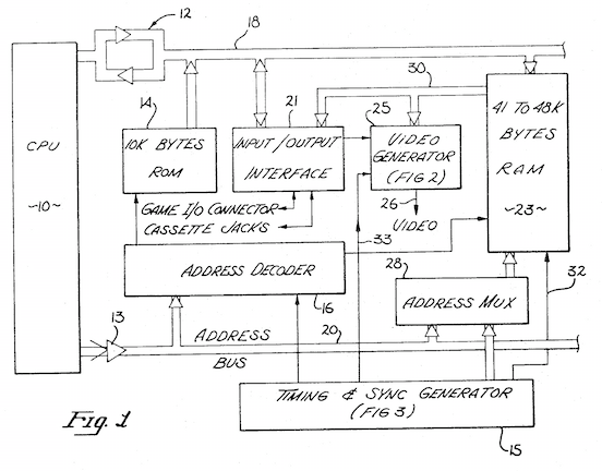
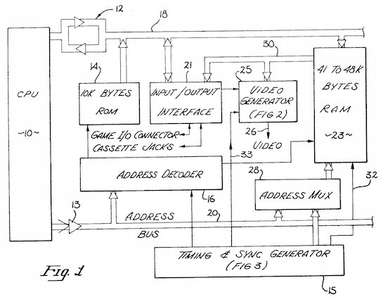
Apple: Microcomputer for use with video display (1977)
Decades before Apple expanded into mobile communication, music distribution and timepieces, it was synonymous with digital design. Steve Jobs’ less well-known co-founder Steve Wozniak invented a method for displaying color and high-resolution graphics using a standard cathode ray tube, which this April 1977 filing described. It was Apples’ first patent.
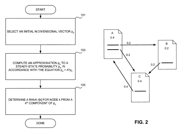
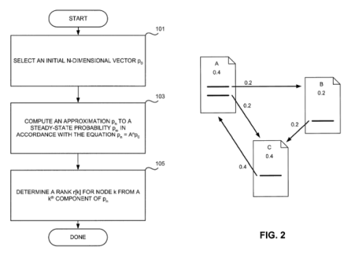
Google: Method for node ranking in a linked database (1998)
Above is Google’s famous PageRank patent, it’s first. Larry Page’s invention valued a webpage based on how many other pages linked to it. Filed in January 1998, the approach provided a significant improvement in the quality of search results, a key factor in Google’s rise as the dominant search engine. The original assignee was Stanford University, which received 1.8 million shares of Google stock in exchange for a long-term license.
Taken Seriously
For most of the ten tech high-fliers noted by IPfolio, strong patent protection helped them to be taken seriously. For others, like Theranos, the patents could not save a flawed business model and questionable leadership.
It is doubtful whether unicorns and other start-ups today can rely on patent protection to build their businesses in the way successful tech companies were able to in the recent past. There is too much uncertainty about what is patentable and what is a valid patent.
Image source: IPfolio.com


